запчасти для, поиск по VIN, подбор колес, узнать размерность колес, заказать запчасти, продажа запчастей, цены на автозапчасти для иномарок, продажа с доставкой в регионы, адреса фирм-поставщиков, авто дилеры, автосервисы, обслуживание авто
Логин Пароль


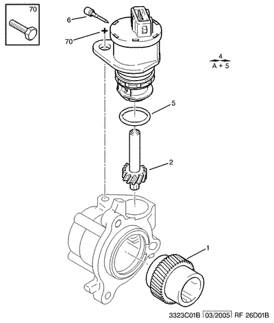
ГлавнаяКаталог Peugeot807(2)СЦЕПЛЕНИЕ - КОРОБКА ПЕРЕДАЧ[26D]ВИНТ УПРАВЛ. ТАХОМЕТРОМ РУЧН.КОР.ПЕРЕДАЧ ((2)СЦЕПЛЕНИЕ - КОРОБКА ПЕРЕДАЧ)


[26D]ВИНТ УПРАВЛ. ТАХОМЕТРОМ РУЧН.КОР.ПЕРЕДАЧ ((2)СЦЕПЛЕНИЕ - КОРОБКА ПЕРЕДАЧ)

# Оригинальный
номер
Название Заказ
01 2643 02 БОЛТ ТАХОМЕТР. начиная с 20040601O00010067 Заказать деталь

Искать в online прайсе
01 2643 10 БОЛТ ТАХОМЕТР. начиная с 20040601O00010067 Заказать деталь

Искать в online прайсе
02 2649 20 ШЕСТЕРНЯ ГРМ начиная с 20040601O00010067 Заказать деталь

Искать в online прайсе
02 2649 29 ШЕСТЕРНЯ ГРМ начиная с 20040601O00010067 Заказать деталь

Искать в online прайсе
04 6160 70 ДАТЧИК СКОРОСТИ начиная с 20040601O00010067 Заказать деталь

Искать в online прайсе
05 2645 12 УПЛ.КОЛ.ЦИЛ.ПОД начиная с 20040601O00010067 Заказать деталь

Искать в online прайсе
06 2650 07 СТОПОРНЫЙ ШТИФТ начиная с 20040601O00010067 Заказать деталь

Искать в online прайсе
70 6917 31 ВИНТ С КОЛПАКОМ начиная с 20040601O00010067 Заказать деталь

Искать в online прайсе

BBCode изображения узла для вставки в блог или на форум (спойлер)

BBCode ссылки на данную страницу для вставки в блог или на форум

HTML код ссылки на данную страницу для установки на сайт

Простая ссылка на данную страницу

Для добавления в социальные закладки, используйте иконки ниже

О проекте | Размещение рекламы | Партнеры | Статьи | Контакты | Добавить сайт в избранное
      По вопросам размещения рекламы на сайте
обращайтесь по телефону
8 (831) 413-63-27
©2009-2014 allspare.ru
Все права защищены