   


# |
Оригинальный номер |
Название |
Заказ |
- |
08 85 016 |
СОЕДИНИТЕЛЬ,ТРОЙНИК,4 X 8 |
|
- |
08 85 147 |
ШЛАНГ,ВЕНТИЛЯЦИЯ РЕГУЛЯТОРА НИЗКОГО ДАВЛЕНИЯ |
|
- |
08 85 232 |
ЗАЖИМ,ШЛАНГ В СБОРЕ,ВХОД НАГРЕВАТЕЛЯ РЕГУЛЯТОРА ВЫСОКОГО ДАВЛЕНИЯ |
|
- |
08 85 017 |
КЛАПАН,СБРОСА ДАВЛЕНИЯ |
|
- |
58 50 990 |
КОЛПАЧОК,ПЫЛЕЗАЩИТНЫЙ,КЛАПАН ПРИРОДНОГО ГОРЮЧЕГО ГАЗА |
|
- |
08 50 348 |
СТЯЖКА,ФИКСИРУЮЩАЯ (ДЛЯ ИСПОЛЬЗОВАНИЯ С 9270192) |
|
- |
08 85 244 |
КОЛЬЦО,СТОПОРНОЕ,ВНУТРЕННИЙ (NGV-1) |
|
- |
08 85 240 |
КОЛЬЦО,СТОПОРНОЕ,НАРУЖНЫЙ (NGV-1) |
|
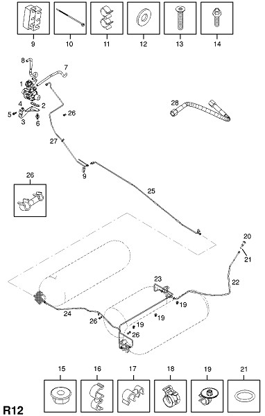
1 |
08 85 062 |
РЕГУЛЯТОР,В СБОРЕ,ДАВЛЕНИЯ (НИЗКОЕ ДАВЛЕНИЕ) |
|
10 |
12 88 900 |
СТЯЖКА,ФИКСИРУЮЩАЯ,290 ММ ДЛИН. |
|
11 |
08 22 952 |
ЗАЖИМ,ДВОЙНОЙ,КРЕПЛЕНИЯ ТРУБ,13-22 |
|
12 |
08 85 172 |
ШАЙБА,6.4 X 20 X 1.5 |
|
13 |
08 85 051 |
ВИНТ,M6 X 20 (БНО.- ПРИМЕНЯТЬ 9270386 8 85 057) |
|
14 |
20 05 029 |
ВИНТ,M6 X 10,РЕГУЛЯТОР ДАВЛЕНИЯ |
|
15 |
20 64 892 |
ГАЙКА,M6,РЕГУЛЯТОР ДАВЛЕНИЯ |
|
16 |
05 62 853 |
ЗАЖИМ,ДВОЙНОЙ,КРЕПЛЕНИЯ ТРУБ |
|
17 |
05 30 780 |
ЗАЖИМ,ДВОЙНОЙ,КРЕПЛЕНИЯ ТРУБ |
|
17 |
08 24 662 |
ЗАЖИМ,ДВОЙНОЙ,КРЕПЛЕНИЯ ТРУБ,ВЫСОКОЕ ДАВЛЕНИЕ |
|
18 |
20 94 918 |
ЗАЖИМ,ШЛАНГ,14ММ ДИАМ. |
|
19 |
08 85 129 |
КРОНШТЕЙН,ОПОРА ШЛАНГА |
|
2 |
08 85 193 |
КРОНШТЕЙН,В СБОРЕ,РЕГУЛЯТОР ДАВЛЕНИЯ,КОНСОЛЬ |
|
20 |
08 85 012 |
КЛАПАН,ТОПЛИВОЗАПРАВОЧНЫЙ (NGV-1) (БНО.- ПРИМЕНЯТЬ 9271244 8 85 263 ) |
|
20 |
08 85 263 |
КЛАПАН,ТОПЛИВОЗАПРАВОЧНЫЙ (TN1) |
|
21 |
08 85 031 |
КОЛЬЦЕВОЙ УПЛОТНИТЕЛЬ,КЛАПАН ПРИРОДНОГО ГОРЮЧЕГО ГАЗА |
|
22 |
08 85 241 |
ТРУБКА,УЗЕЛ,ДОЗАПРАВКА CNG,ЗАДНИЙ |
|
23 |
08 85 242 |
ТРУБКА,УЗЕЛ,ДОЗАПРАВКА CNG,ПРОМЕЖУТОЧНЫЙ (ЦИЛИНДР 2 + 3) |
|
24 |
08 85 243 |
ТРУБКА,УЗЕЛ,ДОЗАПРАВКА CNG,ПРОМЕЖУТОЧНЫЙ (ЦИЛИНДР 1 + 2) |
|
25 |
08 85 239 |
УЗЕЛ ТРУБКИ,ПОДАЧА ТОПЛИВА CNG |
|
26 |
08 24 305 |
ЗАЖИМ,ТОПЛИВОПРОВОД |
|
27 |
08 85 226 |
ТРУБКА,В СБОРЕ,ПОДАЧА ТОПЛИВА,ПЕРЕДНЯЯ ЧАСТЬ |
|
3 |
08 85 192 |
КРОНШТЕЙН,РЕГУЛЯТОР НИЗКОГО ДАВЛЕНИЯ |
|
4 |
20 66 920 |
ГАЙКА,ШЕСТИГР.,M8,С ШАЙБОЙ,КРОНШТЕЙН РЕГУЛЯТОРА ДАВЛЕНИЯ |
|
5 |
20 05 054 |
ВИНТ,M6 X 14,КРОНШТЕЙН РЕГУЛЯТОРА ДАВЛЕНИЯ |
|
6 |
08 34 976 |
БАМПЕР |
|
7 |
08 85 194 |
ШЛАНГ В СБОРЕ,ВХОД НАГРЕВАТЕЛЯ РЕГУЛЯТОРА ВЫСОКОГО ДАВЛЕНИЯ |
|
8 |
08 85 195 |
ШЛАНГ В СБОРЕ,ВХОД НАГРЕВАТЕЛЯ РЕГУЛЯТОРА ВЫСОКОГО ДАВЛЕНИЯ |
|
9 |
08 85 229 |
ЗАЖИМ,ШЛАНГ В СБОРЕ,ВХОД НАГРЕВАТЕЛЯ РЕГУЛЯТОРА ВЫСОКОГО ДАВЛЕНИЯ |
|
→ BBCode изображения узла для вставки в блог или на форум (спойлер)
→ BBCode ссылки на данную страницу для вставки в блог или на форум
→ HTML код ссылки на данную страницу для установки на сайт
→ Простая ссылка на данную страницу
→ Для добавления в социальные закладки, используйте иконки ниже
|