   

# |
Оригинальный номер |
Название |
Заказ |
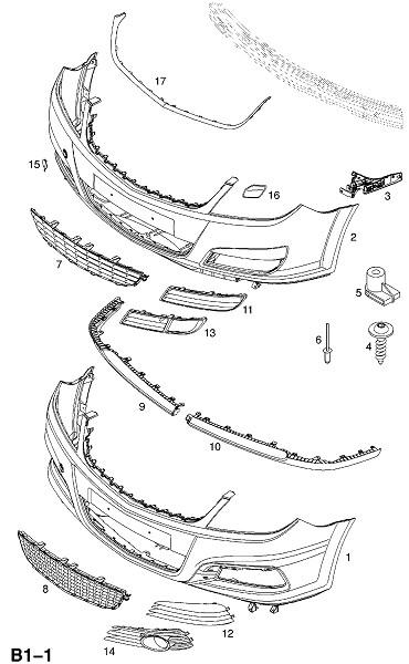
3 |
14 06 550 |
РЕЙКА,НАПРАВЛЯЮЩАЯ,ПЕРЕДНЯЯ КОНЦЕВАЯ ПАНЕЛЬ К КРЫЛУ,П/С |
|
3 |
14 06 061 |
РЕЙКА,НАПРАВЛЯЮЩАЯ,ПЕРЕДНЯЯ КОНЦЕВАЯ ПАНЕЛЬ К КРЫЛУ,Л/С |
|
4 |
17 82 970 |
ВИНТ,С ПЛОСКОЙ КРУГЛ.ГОЛ.,5 X 20,ПАНЕЛЬ ПЕРЕДНЕГО БАМПЕРА,ВЕРХНИЙ |
|
5 |
12 74 977 |
ГАЙКА,С КОЛЬЦЕВОЙ ВСТАВКОЙ,ПЕРЕДНИЙ БАМПЕР,ВЕРХНИЙ |
|
6 |
14 06 528 |
ЗАКЛЕПКА,ОПОРА,ПЕРЕДНЯЯ КОНЦЕВАЯ ПАНЕЛЬ,ЦЕНТРАЛЬНЫЙ |
|
→ BBCode изображения узла для вставки в блог или на форум (спойлер)
→ BBCode ссылки на данную страницу для вставки в блог или на форум
→ HTML код ссылки на данную страницу для установки на сайт
→ Простая ссылка на данную страницу
→ Для добавления в социальные закладки, используйте иконки ниже
|